
近日,北京中日友好医院胸外科副主任医师肖某被妻子举报婚内出轨多人。并在手术期间,为了安抚情人,将麻醉后的病人放置40分钟不理,差点造成医疗事故。
4月27日晚,中日友好医院通报称,举报基本属实,解除与肖某的聘用关系。


举报内容显示,2019年2月至2025年4月,北京中日友好医院胸外科副主任医师肖某婚内出轨至少4人,包括护士长(打胎2次)和规培医生(婚内怀孕)。导致护士长多次怀孕流产。并提供了肖某和其他女性的亲密合影及开房记录。
肖某的人品、医德明显不足。
其专业性貌似很强,使得刚开始医院也在全力保他,知道出了潜在的医疗事故风险才真正处理。
从中日友好医院的主业上可以看到,肖某是胸外科的主治医师、副主任医师,毕业于北京大学医学部获博士学位,还担任协和医学院硕士生导师。



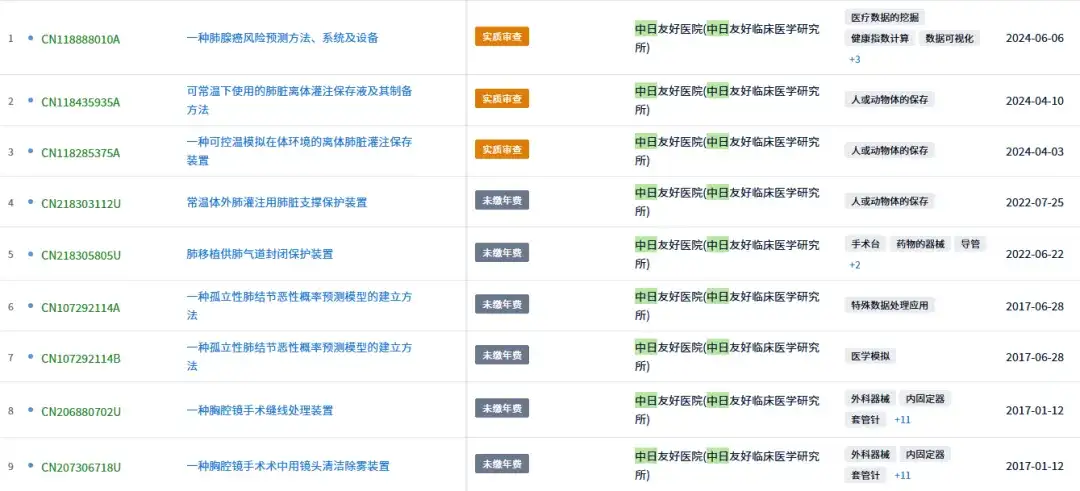
从智慧芽专利数据库中查到,肖某供申请专利8件,其中发明专利4件(一件授权)、实用新型4件,6件失效,3件在审。
另外,从其专利发明人上看,肖某的出轨对象石某某、徐某钦、董某某等并没有出现在其中,可见肖某还是把学术研究和情爱有所隔离的。
另外,从肖某申请专利的周期看,其申请专利的集中时间在2017年、2022年和2024年,对应肖某的主治医师、副主任医师、中日医院“菁英计划”人才培育工程骨干人才项目时间点。
且大部分专利没有转化、没有缴纳年费而已经失效。
基本可以判断,肖某申请这些专利的作用,纯粹为了晋升职称。
这也对中日医院,甚至大部分医院的专利管理运营和考核标准提出了质疑。
国家知识产权局这些年已经对医院医生申请专利进行了越来越严格的考量和审查。
国家知识产权局明确指出非正常申请专利行为的几种情形,对医院医生申请专利中存在的非正常申请行为进行严厉打击。要求公立医院加强专利申请前的审核,实行诚信承诺制,鼓励科研人员申请高质量专利。








